PRODUCTS

Classification Introduction

Hydraulic power machine vise-VH
Features:
·Body is made of high quality ductile cast iron
·Concealed spindle for protection against chips and dirt
·Accuarcy within 0.02mm
·Hydraulic-booster system for maximum clamping pressure with minimum force
·Sliding bed ways flame hardened and ground
·Quick of clamping&locking and easy of operation
·Furnished with or without swivel base
MESSAGE

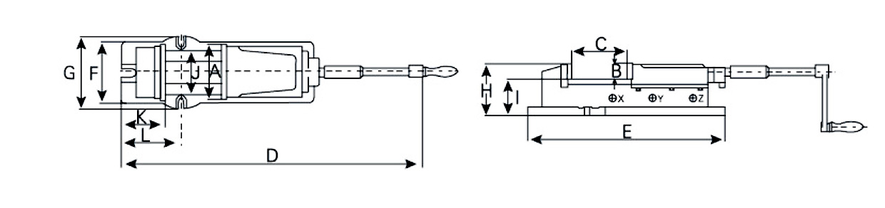
Technical   dataUnitVH-4VH-5VH-6VH-8
Amm100125155200
Bmm364653.562
Cmm170220305305
Dmm5256709601020
Emm430540615700
Fmm130165202240
Gmm160185232280
Hmm94118136162
Imm607282100
Jmm7897115160
Kmm100117125165
Lmm155185255266
Weightkg224275125

MESSAGE

Please contact us now, your inquiry will be answered soon!

Submit